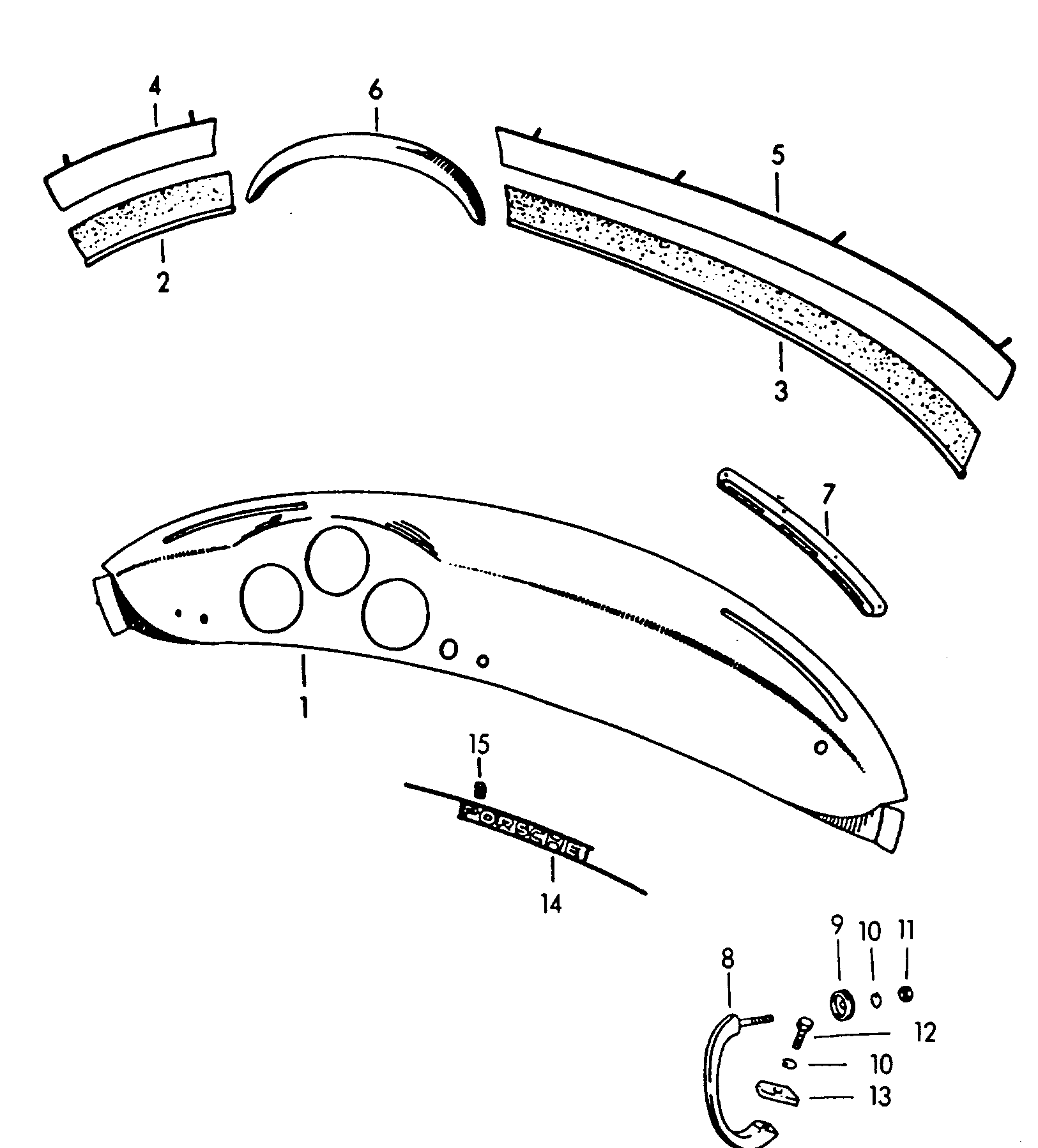
| (1) | 540 70 010 | 54070010 - tableau de bord | | 1 | 356 |
| 1 | 644 502 021 40 | 64450202140 - tableau de bord couche de fond | | 1 | 356 A |
| 2 | 540 70 417 | 54070417 - jonc 250 MM | gauche caoutchouc | 1 | 356 |
| 2 | 644 552 371 40 | 64455237140 - jonc 250 MM | gauche caoutchouc | 1 | 356 A |
| 3 | 540 70 418 | 54070418 - jonc 750 MM | droite caoutchouc | 1 | 356 |
| 3 | 644 552 372 40 | 64455237240 - jonc 750 MM | droite caoutchouc | 1 | 356 A |
| 4 | 540 70 405 | 54070405 - Couvre-joint sans: Housses rembourrees Couvre-joint sans: Housses rembourrees | gauche | 1 | 356 |
| 4 | 644 552 301 40 | 64455230140 - Couvre-joint sans: Housses rembourrees Couvre-joint sans: Housses rembourrees | gauche | 1 | 356 A |
| 5 | 540 70 406 | 54070406 - Couvre-joint sans: Housses rembourrees Couvre-joint sans: Housses rembourrees | droite | 1 | 356 |
| 5 | 644 552 302 40 | 64455230240 - Couvre-joint sans: Housses rembourrees Couvre-joint sans: Housses rembourrees | droite | 1 | 356 A |
| 6 | 540 70 403 1 | 540704031 - ecran p. instruments sans: Housses rembourrees | | 1 | 356 |
| 6 | 644 552 311 40 | 64455231140 - ecran p. instruments sans: Housses rembourrees | | 1 | 356 A |
| 7 | 644 552 411 40 | 64455241140 - cache pour buse de chauffage | | 2 | 356A |
| 8 | 540 70 040 | 54070040 - Poignee (complet) | | 1 | 356 |
| 8 | PCG 552 865 40 | PCG55286540 - poignee-passager poignee-passager | | 1 | 356 A |
| 10 | 900 027 014 01 | 90002701401 - rondelle grower B 6 Piece supprimee | | 2 | |
| 10 | 900 027 014 02 | 90002701402 - rondelle grower B 6 Piece supprimee | | 2 | |
| 10 | N 012 006 4 | N0120064 - rondelle grower B 6 | | 2 | |
| 11 | 900 077 002 02 | 90007700202 - ecrou 6 pans M 6 | | 1 | |
| 12 | N 010 210 13 | N01021013 - vis 6 pans M 6 X 10 | | 1 | |
| 14 | 644 559 305 40 | 64455930540 - monogramme | | 1 | 356 |
| 14 | 644 559 305 40 | 64455930540 - monogramme | | 1 | 356 A |
| 15 | 999 507 212 01 | 99950721201 - ecrou elast. | | 8 | 356 A |