Catégories
Schémas
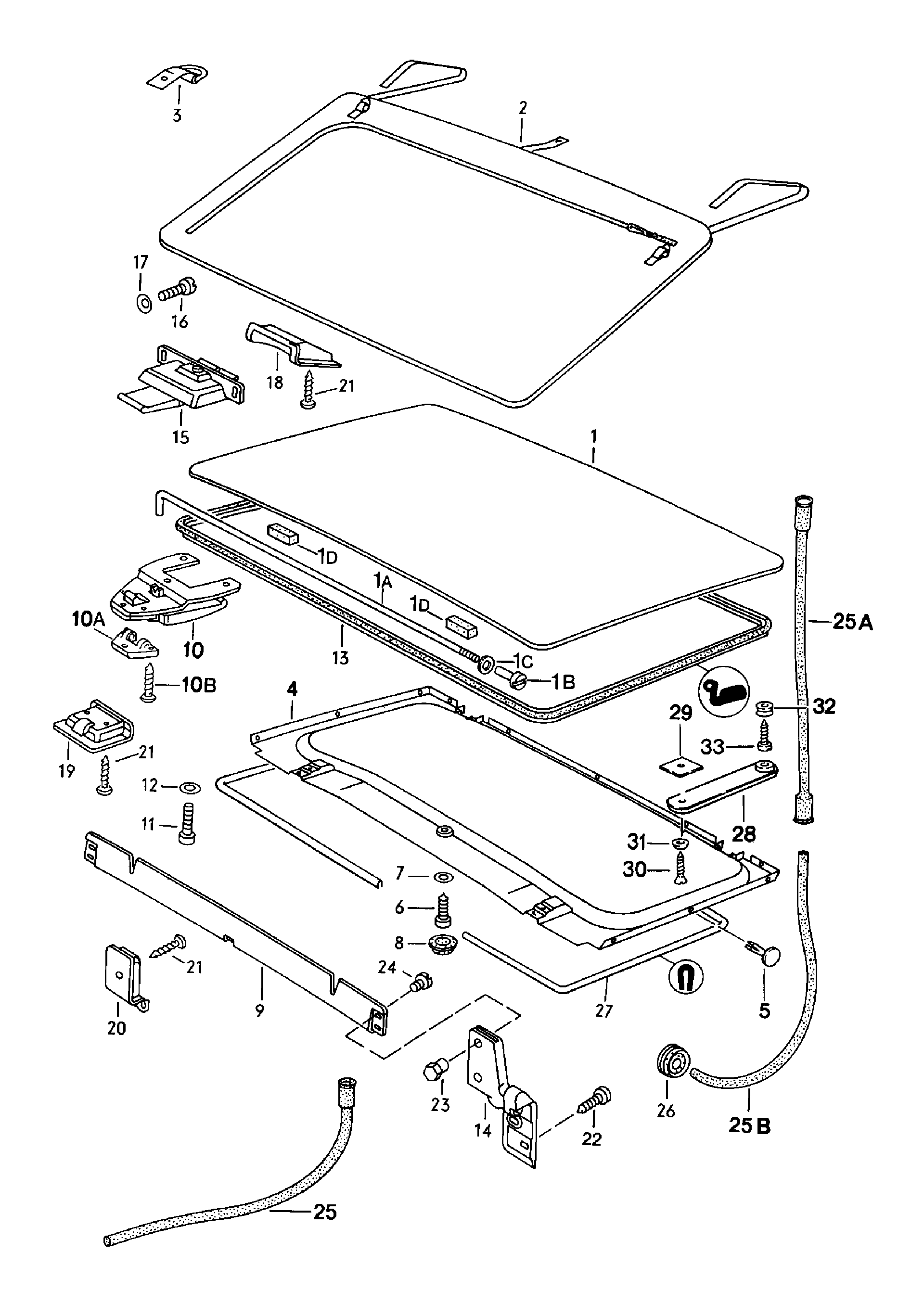
811-000
pavillon
D >> - MJ 1983
| Pos. | Pièce n°. | Description | Remarques | Qté | Modèle | |
|---|---|---|---|---|---|---|
| 1 | 477 871 021 | 477871021 - pavillon | 1 | |||
| 1A | 477 871 761 | 477871761 - biellette | 1 | |||
| 1B | 477 871 763 A | 477871763A - Douille taraudee | 1 | |||
| 1C | N 011 524 7 | N0115247 - Rondelle plate B 6 Piece supprimee | 1 | |||
| 1C | N 011 524 27 | N01152427 - Rondelle plate B 6 | 1 | |||
| 1D | 477 871 789 | 477871789 - bande d'etancheite | 2 | |||
| 2 | 477 871 027 | 477871027 - poche | 1 | |||
| 08/79\-07/83 05T | noir | |||||
| 08/79\-07/83 21S | marron F >> 92-DN402 148 F >> 93-DN100 189 marron F >> 92-DN402 148 F >> 93-DN100 189 | 924 TURBO | ||||
| 2 | 477 871 027 | 477871027 - poche | 1 | |||
| 08/79\-07/83 4RB | brun cadbury F 92-DN402 149>> F 93-DN100 190>> brun cadbury F 92-DN402 149>> F 93-DN100 190>> | 924 TURBO | ||||
| 3 | 477 871 029 | 477871029 - Support poche | 1 | |||
| 08/79\-07/83 041 | noir | |||||
| 08/79\-07/83 90V | marron | |||||
| 4 | 477 871 047 B | 477871047B - Revetement | 1 | |||
| 08/79\-07/83 05T | noir | |||||
| 08/79\-07/82 21S | marron D >> - MJ 1982 marron D >> - MJ 1982 | |||||
| 08/82\-07/83 4RB | marron D - MJ 1983>> marron D - MJ 1983>> | |||||
| 08/79\-07/83 1DB | noir Ne plus utiliser pièce ici | |||||
| 5 | 477 871 053 | 477871053 - rivet d'ecartement | 11 | |||
| 6 | 311 867 167 | 311867167 - vis a tole tete bombee 4,2 | 1 | |||
| 7 | 900 151 028 02 | 90015102802 - Rondelle plate 4,3 Piece supprimee | 1 | |||
| 7 | 900 151 028 01 | 90015102801 - Rondelle plate 4,3 | 1 | |||
| 8 | 311 867 169 | 311867169 - Capuchon pour vis | 1 | |||
| 08/79\-07/83 01C | noir satine | |||||
| 08/79\-07/83 90V | brun selle | |||||
| 9 | 944 564 993 00 | 94456499300 - deflecteur de vent. | 1 | |||
| 10 | 477 871 217 | 477871217 - Fermeture de toit | av | 2 | ||
| 10A | 477 871 219 | 477871219 - palier de fixation | 2 | |||
| 08/79\-07/83 01C | noir | |||||
| 10B | N 033 174 1 | N0331741 - vis tete fraisee 3 X 6 Piece supprimee | 6 | |||
| 10B | 900 269 001 01 | 90026900101 - vis tete fraisee 3 X 6 | 6 | |||
| 11 | N 033 018 1 | N0330181 - vis tete bombee fraisee M 5 X 12 | 2 | |||
| 12 | 999 704 605 07 | 99970460507 - Poulie a cones | 2 | |||
| (13) | 944 564 114 01 | 94456411401 - joint | 1 | |||
| 14 | 477 871 635 A | 477871635A - charniere | gauche | 1 | ||
| (14) | 477 871 636 A | 477871636A - charniere | droite | 1 | ||
| 15 | 477 871 649 | 477871649 - Fermeture de toit | ar | 2 | ||
| 16 | 900 146 003 02 | 90014600302 - vis tete bombee AM 5 X 11 | 8 | |||
| 17 | N 012 222 4 | N0122224 - Rondelle elastique B 5 | 8 | |||
| 18 | 477 871 651 A | 477871651A - verrouillage | 2 | |||
| 19 | 477 871 665 A | 477871665A - cale de centrage | av | 2 | ||
| 20 | 477 871 683 A | 477871683A - palier | 1 | |||
| 21 | N 013 964 4 | N0139644 - vis a tole tete bombee B 4,2 X 16 | 9 | |||
| 22 | 900 143 031 02 | 90014303102 - vis a tole tete bombee B 4,2 X 9,5 | 4 | |||
| 23 | 477 871 701 A | 477871701A - ecrou d'obturation | 4 | |||
| 24 | 477 837 959 | 477837959 - vis de blocage tete bombee | 4 | |||
| 25 | 321 877 233 C | 321877233C - flexible de goulotte | av | 2 | ||
| 25A | 944 564 235 00 | 94456423500 - flexible de goulotte | ar g | 1 | ||
| 25B | 944 564 237 00 | 94456423700 - tuyau d'ecoulement d'eau | ar g | 1 | ||
| (25A) | 944 564 064 00 | 94456406400 - flexible de goulotte | ar d | 1 | ||
| (25B) | 944 564 238 00 | 94456423800 - tuyau d'ecoulement d'eau | ar d | 1 | ||
| 26 | 021 119 569 | 021119569 - Protecteur caoutchouc | X | |||
| 27 | 944 564 621 00 | 94456462100 - Protege-arete Piece supprimee Protege-arete Piece supprimee | 1 | |||
| 27 | 944 564 623 02 | 94456462302 - Protege-arete Protege-arete | 1 | |||
| 28 | 477 871 501 | 477871501 - sangle de fixation | 1 | |||
| 08/79\-07/83 43S | gris beige | |||||
| 08/79\-07/83 87S | marron F >> 92-DN402 148 F >> 93-DN100 189 marron F >> 92-DN402 148 F >> 93-DN100 189 | 924 TURBO | ||||
| 08/79\-07/83 4RB | brun cadbury F 92-DN402 149>> F 93-DN100 190>> brun cadbury F 92-DN402 149>> F 93-DN100 190>> | 924 TURBO | ||||
| 29 | 477 871 505 | 477871505 - plaque de renfort | 1 | |||
| 30 | N 014 091 4 | N0140914 - vis tole tete bombee fraisee B 3,9 X 16 | 1 | |||
| 31 | N 011 590 1 | N0115901 - Poulie a cones | 1 | |||
| 32 | 477 871 509 | 477871509 - P. spherique bouton-poussoir P. spherique bouton-poussoir | 1 | |||
| 33 | 900 143 003 00 | 90014300300 - vis a tole tete bombee B 3,5 X 16 | 1 | |||
| 34 | 477 871 159 | 477871159 - levier | 2 | |||
| 35 | N 013 327 1 | N0133271 - goupille de serrage 3 X 18 | 2 |
Choisissez votre revendeur
Privilégiez votre Centre Porsche habituel, ou Trouver le plus proche de votre position :
Pièces Porsche pour Cayman Pièces Porsche pour Boxster Pièces Porsche pour Cayenne Pièces Porsche pour 911 Pièces Porsche pour Panamera Pièces Porsche pour Macan Pièces Porsche pour 918 Pièces Porsche pour Taycan Pièces Porsche Classic pour 911 Pièces Porsche Classic pour 356 Pièces Porsche Classic pour 914 Pièces Porsche Classic pour 924 Pièces Porsche Classic pour 928 Pièces Porsche Classic pour 944 Pièces Porsche Classic pour 959 Pièces Porsche Classic pour 968 Pièces Porsche Classic pour Boxster Pièces Porsche Classic pour Cayenne Pièces Porsche Classic pour Carrera GT
