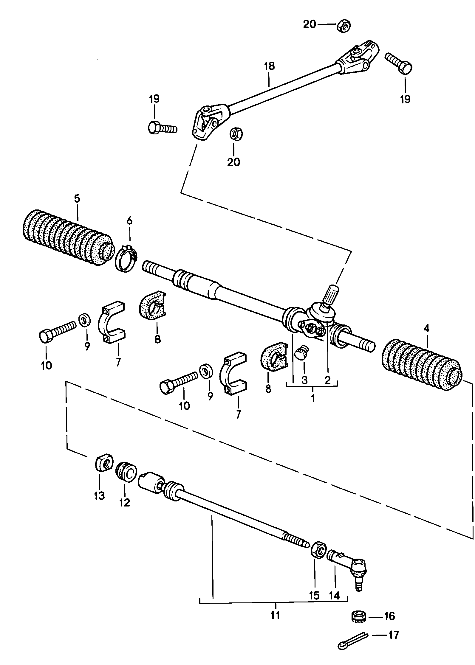
| 1 | 944 347 011 00 | 94434701100 - Mecanisme de direction | dg | 1 | |
| (1) | 945 347 011 00 | 94534701100 - Mecanisme de direction utiliser en meme temps: | dd 94434713700 94434713900 94534722300 90002500703 90007413402 | 1 1 1 2 4 4 | |
| 2 | 477 419 321 | 477419321 - Capuchon de protection | | 1 | |
| 3 | 477 419 115 | 477419115 - Bouchon de fermeture | | 1 | |
| 4 | 171 419 831 C | 171419831C - Housse protect. pour direction Piece supprimee | gauche | 1 | |
| 4 | PCG 419 831 C | PCG419831C - Soufflet | gauche | 1 | |
| 5 | 171 419 832 C | 171419832C - Housse protect. pour direction | droite | 1 | |
| 6 | 823 419 843 | 823419843 - borne p. gaine de protection $ 45 MM | | 1 | |
| 7 | 944 347 223 01 | 94434722301 - Collier | dg | 2 | |
| (7) | 945 347 223 00 | 94534722300 - Collier | dd | 2 | |
| 8 | 944 347 137 00 | 94434713700 - silentbloc | gauche | 1 | |
| (8) | 944 347 139 00 | 94434713900 - silentbloc | droite | 1 | |
| 9 | 900 025 007 02 | 90002500702 - Rondelle plate A 8,4 Piece supprimee | | 4 | |
| 9 | 900 025 007 03 | 90002500703 - Rondelle plate A 8,4 | | 4 | |
| 10 | N 010 360 6 | N0103606 - vis 6 pans M 8 X 60 Piece supprimee | dg | 4 | |
| 10 | N 010 360 19 | N01036019 - vis 6 pans M 8 X 60 | dg | 4 | |
| (10) | 900 074 134 02 | 90007413402 - vis 6 pans M 8 X 45 | dd | 4 | |
| 11 | 944 347 033 00 | 94434703300 - Biellette de direction F >> 94-DN402 644 F >> 94-DN402 812 Biellette de direction F >> 94-DN402 644 F >> 94-DN402 812 | dg dd | 2 | |
| 11 | 944 347 033 01 | 94434703301 - Biellette de direction F 94-DN402 645>> F 94-DN402 813>> Piece supprimee Biellette de direction F 94-DN402 645>> F 94-DN402 813>> Piece supprimee | dg dd | 2 | |
| 11 | 944 347 033 07 | 94434703307 - Biellette de direction F 94-DN402 645>> F 94-DN402 813>> Biellette de direction F 94-DN402 645>> F 94-DN402 813>> | dg dd | 2 | |
| 12 | 477 419 827 | 477419827 - bague de butee | | 2 | |
| 13 | 171 419 855 | 171419855 - Contre-écrou M 22 X 1,5 Contre-écrou M 22 X 1,5 | | 2 | |
| 14 | 944 347 333 00 | 94434733300 - Rotule F >> 94-DN402 644 F >> 94-DN402 812 Rotule F >> 94-DN402 644 F >> 94-DN402 812 | dg dd | 2 | |
| 14 | 944 347 333 01 | 94434733301 - Rotule F 94-DN402 645>> F 94-DN402 813>> Rotule F 94-DN402 645>> F 94-DN402 813>> | dg dd | 2 | |
| 15 | N 011 163 3 | N0111633 - ecrou 6 pans M 14 Piece supprimee | | 2 | |
| 15 | 900 078 005 03 | 90007800503 - ecrou 6 pans M 14 | | 2 | |
| 16 | N 011 212 2 | N0112122 - Ecrou crenele M 12 | | 2 | |
| (16) | 900 360 002 0B | 9003600020B - ecrou de surete | VM12X1,5 | 1 | |
| 17 | N 012 532 1 | N0125321 - goupille fendue 3 X 25 | | 2 | |
| 18 | 944 347 027 01 | 94434702701 - Arbre de transmission | dg | 1 | |
| (18) | 945 347 027 00 | 94534702700 - Arbre de transmission | dd | 1 | |
| 19 | N 010 335 7 | N0103357 - vis 6 pans M 8 X 35 | | 2 | |
| 20 | 900 910 022 09 | 90091002209 - ecrou de surete VM 8 | | 2 | |
| 20 | 900 910 022 03 | 90091002203 - ecrou de surete VM 8 | | 2 | |